


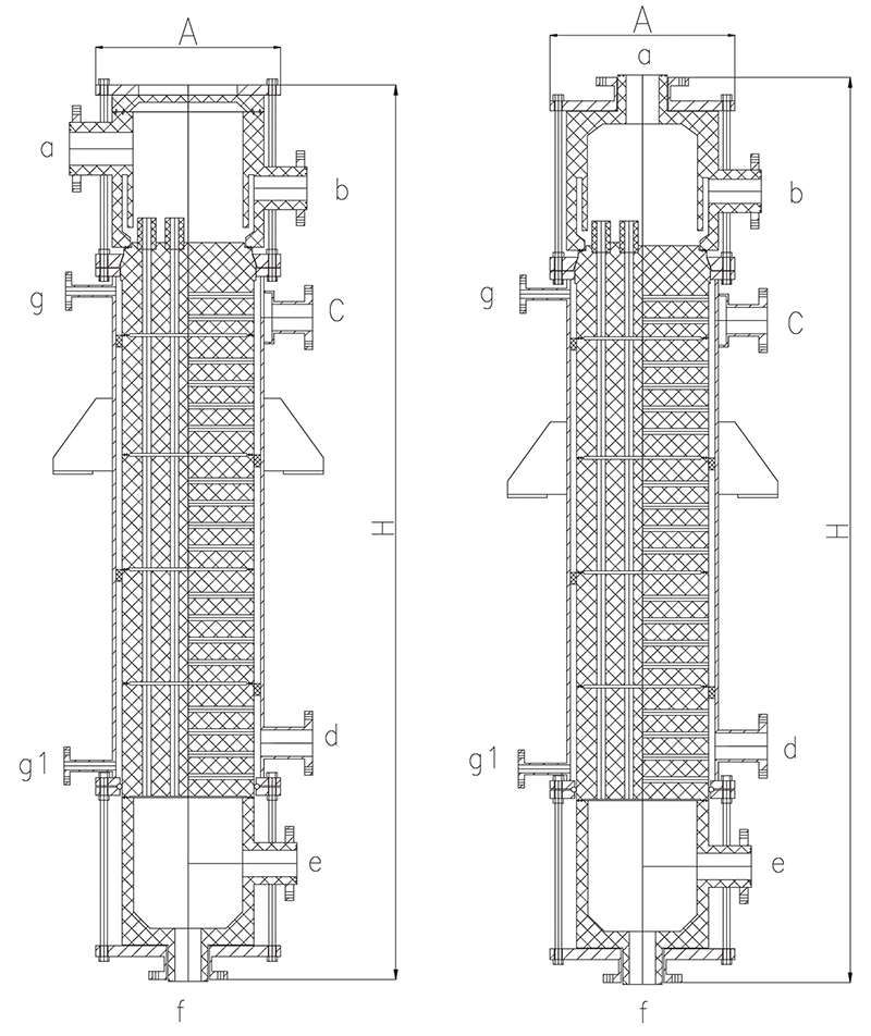
結構特點
本設備由液體分配器、溢流管、吸收基本換熱塊、氣液分離器、金屬外殼等組成。石墨件之間采有O形氟膠圈或聚四氟密封,具有結構裝簡單、強度高、傳熱效果好、耐腐蝕性強、尾氣含量低、易于操作維修等特點。
技術特性
進口溫度:-20~170℃
許用壓力:≤0.4MPa
YKX型圓塊石墨降膜吸收器參數表


深州市渠承石墨科技有限公司
咨詢熱線:0318-3331688
電話:13903189501
聯系人:李連側
地址:河北省衡水市深州市榆科鎮(zhèn)下博村
版權所有:深州市渠承石墨科技有限公司 備案號:冀ICP備19024124號-1 聯系方式:0318-3331688
聯系地址:河北省衡水市深州市榆科鎮(zhèn)下博村 技術支持:嘉誠網絡